Ankerschienen
- zum Einbetonieren
- Werkstoff: feuerverzinkt, Edelstahl A2, Edelstahl A4
| einsetzbar in den Bereichen | Qualitätsmerkmale |
|---|---|
| · Fassadenbau · Betonfertigteilbau · Haustechnischer Anlagenbau · Verkehrstechnischer Anlagenbau, z. Bsp.: in Tunnelbauten · Aufzugsbau · Infrastruktur, wie z. Bsp.: Brücken · Kranbahnbefestigung |
· Hohe Designlasten bis zu FRd = 44,8 kN · kleine Randabstände bis zu 5 cm · uneingeschränkte Justierbarkeit · lärm- und vibrationsfreie Montage · zugelassen für statische und dynamische Lasten · hoher Korrosionsschutz |
Warmgewalzte Schienen nach Typen:

dazu passende Schrauben:

Kaltgewalzte Schienen nach Typen:

dazu passende Schrauben:

Gezahnte Schienen nach Typen:

dazu passende Schrauben:

Ankerschienen zum Einbetonieren sind mit Bolzenankern (Standard) oder
angeschweißten I-Ankern versehen:

Lagerlänge: 6070 mm mit 25 Ankern bei allen Profilen, außer Profil 38/17-K. Das Profil 38/17-K hat 31 Anker.
| Standard-Fixlängen - Fertigung auftragsbezogen | Standard-Fixlängen - Fertigung auftragsbezogen |
||||||
|---|---|---|---|---|---|---|---|
| Profile 28/15, 38/17, 40/22, 40/25, 49/30, 50/30, 52/34, 72/48 Profile "verzahnt" 38/23, 41/22 Länge mm / Anzahl Anker |
Profile 38/17-K Profile "verzahnt" 29/20 Länge mm / Anzahl Anker |
||||||
| 1050/5 | 1300/6 | 1550/7 | 1800/8 | 1250/7 | 1450/8 | 1650/9 | 1850/10 |
| 2050/9 | 2300/10 | 2550/11 | 2800/12 | 2050/11 | 2250/12 | 2450/13 | 2650/14 |
| 3050/13 | 3300/14 | 3550/15 | 3800/16 | 2850/15 | 3030/16 | 3250/17 | 3450/18 |
| 4050/17 | 4300/18 | 4550/19 | 4800/20 | 3650/19 | 3850/20 | 4050/21 | 4250/22 |
| 5050/21 | 5300/22 | 5550/23 | 5800/24 | 4450/23 | 4650/24 | 4850/25 | 5050/26 |
| 5250/27 | 5450/28 | 5650/29 | 5850/30 | ||||
![]() |
![]() |
||||||
Standardlängen, Ankeranordnung - Kurzstücke:
| Länge mm / Anzahl Anker | Länge mm / Anzahl Anker | Länge mm / Anzahl Anker | |||
|---|---|---|---|---|---|
| 100/2 | 200/2 | 250/3 | |||
| 150/2 | 250/2 | 300/2 | |||
| Länge mm / Anzahl Anker | Länge mm / Anzahl Anker | ||
|---|---|---|---|
| 300/3 | 400/3 | ||
| 350/3 | 550/3 | ||
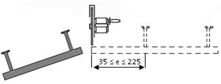
Hinweise zur Montage der Endanker
![]() ![]() ![]() |
1. Profilschiene an der vorgesehenen Stelle trennen. Die Schnittfläche muss rechtwinklig zur Schienenlängsachse verlaufen. Der Endüberstand "e" muss mindestens 35 mm und darf höchstens 225 mm betragen. 2. Endanker Typ passend zum Schienenprofil gem. der unten stehenden Tabelle auswählen. Klemmelement bis zum Anschlag über den Profilrücken schieben. Falls erforderlich, Schaumfüllung am Schienenende eindrücken. 3. Das erforderliche Anzugsdrehmoment auf den Bolzen aufbringen. |
| für Profil | Endanker | Gewinde | Anzugsdreh- moment MD Nm |
|
|---|---|---|---|---|
![]() |
28/15-FV | E1-FV | M 8 | 10 |
| 28/15-A4 | E1-A4 | M 8 | 10 | |
| 38/17-A4 | E2-FV | M 10 | 20 | |
| 40/22-FV | ||||
| 40/25-FV | ||||
| 41/22-FV | ||||
| 38/17-A4 | E2-A4 | M 10 | 20 | |
| 40/22-A4 | ||||
| 40/25-A4 | ||||
| 41/22-A4 | ||||
| Kurzstücke für Profil "verzahnt" 41/22 dürfen nur mit max. einem Endanker verwendet werden. Nicht Bestandteil der Zulassung. | ||||
Maueranschlussschiene, Länge: 2,50 m
| · mit Dellenankern und Vollschaumfüllung | ![]() |
| · Dellenanker (vorgestanzt, herausbiegbar) | |
| · Werkstoff: sendzimirverzinkt, V4A |
Geländerbefestigungen
durch Geländerbefestigungssysteme Typ HGB:
- für Befestigungen an der Stirnseite
- justierbare Befestigung
- statischer Nachweis
- typengeprüft
- auch an dünnen Stirnseiten d ? 100 mm einsetzbar
- auch für Befestigung der Absturzsicherung während der Bauzeit geeignet
- planmäßiger Einbau, d.h. Ausschaltung von Fehlerquellen und Berücksichtigung nachfolgender Gewerke
Trapezblech-Befestigungsschienen
- zur Befestigung von Trapezblechen an Betonkonstruktionen mit Gewinde furchenden Schrauben, Bohrschrauben oder Setzbolzen
- Lastaufnahme auf Zug- sowie in Quer- und Längsrichtung
- bauaufsichtlich zugelassen
- Ausführung in feuerverzinkt und Edelstahl A4
| Ankerform A | Ankerform D |
|---|---|
![]() |
![]() |
![]() |
![]() |













